Калильный двигатель МД-5 “Комета” (#126058)
Калильный двигатель МД-5 “Комета” 100 грн.
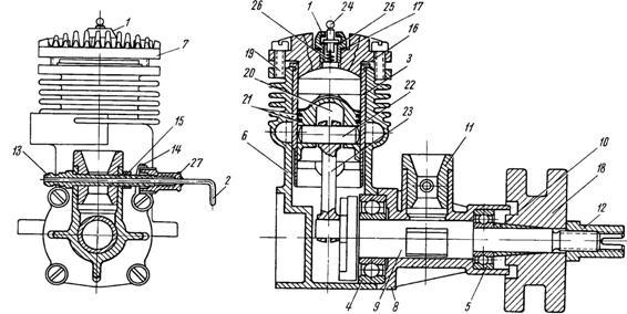
МД-5 “Комета” (2 категория). Калильный двигатель МД-5 “Комета” моноблочный конструкции. Одна отливка образует картер отъемная, на ней имеется отлив, образующий всасывающий патрубок карбюратора. В крышке установлены два радиальных однорядных шарикоподшипника: коренной – 12 мм и носовой – 8 мм. Внешняя обойма коренного подшипника выступает на половину своей ширины и служит направляющей при соединении крышки картером.Стальной пустотелый вал сечением 12 x 8 мм служит газораспределяющим золотником. Его носовая часть имеет резьбу. Воздушный винт крепится гайкой. Мотылевая шейка имеет диаметр 6 мм. Щека кривошипа круглая, с противовесом. Поршень из легкого сплава, имеет два поршневых кольца сечением 1 x 1 мм. Поршневой палец стальной, каленый, диаметром 3 мм. Шатун из дюральалюминия, литой под давлением. Гильза цилиндра сделана из чугуна, свободно сидит в блоке картера, к которому сверху прижата четырьмя винтами.Карбюратор имеет сменные диффузоры, позволяющие добиваться наиболее надежной работы на желаемом числе оборотов.Рекомендуемое топливо: касторовое масло – 1 часть, метиловый спирт 3 или 4 части.Чертежи деталей двигателя МД-5 “Комета” даны в рисунке.
Основные данные двигателя МД-5 “Комета”
Ход поршня 17 мм
Диаметр цилиндра 19 мм
Рабочий объем 4,82 см3
Степень сжатия 5,5
Вес двигателя (без винта) 225 г
Максимальная мощность серийного образца 0,48 л. с.
Год выпуска: 1980
Пробег: 1
Тип ТС:
Марка:
Цена: 100 ГРН
МД-5 “Комета” (2 категория). Калильный двигатель МД-5 “Комета” моноблочный конструкции. Одна отливка образует картер отъемная, на ней имеется отлив, образующий всасывающий патрубок карбюратора. В крышке установлены два радиальных однорядных шарикоподшипника: коренной – 12 мм и носовой – 8 мм. Внешняя обойма коренного подшипника выступает на половину своей ширины и служит направляющей при соединении крышки картером.Стальной пустотелый вал сечением 12 x 8 мм служит газораспределяющим золотником. Его носовая часть имеет резьбу. Воздушный винт крепится гайкой. Мотылевая шейка имеет диаметр 6 мм. Щека кривошипа круглая, с противовесом. Поршень из легкого сплава, имеет два поршневых кольца сечением 1 x 1 мм. Поршневой палец стальной, каленый, диаметром 3 мм. Шатун из дюральалюминия, литой под давлением. Гильза цилиндра сделана из чугуна, свободно сидит в блоке картера, к которому сверху прижата четырьмя винтами.Карбюратор имеет сменные диффузоры, позволяющие добиваться наиболее надежной работы на желаемом числе оборотов.Рекомендуемое топливо: касторовое масло – 1 часть, метиловый спирт 3 или 4 части.Чертежи деталей двигателя МД-5 “Комета” даны в рисунке.
Основные данные двигателя МД-5 “Комета”
Ход поршня 17 мм
Диаметр цилиндра 19 мм
Рабочий объем 4,82 см3
Степень сжатия 5,5
Вес двигателя (без винта) 225 г
Максимальная мощность серийного образца 0,48 л. с.
Год выпуска: 1980
Пробег: 1
Тип ТС:
Марка:
Цена: 100 ГРН
ВНИМАНИЕ!
Данное объявление скорее всего недействительно. Срок его действия истек 28.02.2013
Данное объявление скорее всего недействительно. Срок его действия истек 28.02.2013
Статистика:
показов: 2736;
добавлено: 24.10.2012;
обновлено: 18.02.2013; срок объявления истек: 28.02.2013 (-4714 дн[я,ей] назад).
Последние объявления в этой категории
Похожие объявления
| 25.08.2022 | Авто Мототехника Продам | |
| 25.08.2022 | Легковой автомобиль | |
| 03.06.2021 | Лизинг автомобилей | |
| 11.10.2019 | Магазин Брендовой Одежды PHILIPP PLEIN Севастополь | |
| 11.10.2019 | Брендовая одежда PHILIPP PLEIN |
| 12.06.2020 | Двигатель к китайскому скутеру | |
| 05.11.2019 | Продам Дизельный двигатель | |
| 31.05.2018 | мерседес 123 кузов и двигатель по запчастям продам | |
| 01.08.2012 | Карп кои,Комета,Прудовые лилии,Водяной Геацинт,водное алоэ,Пистия Гиганская |
